The Class 10 examinations will be held from May 17 to 26, as per the orders by the directorate of government examination. The Department of Education has clarified that there will be only six exams for students this year.
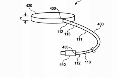
Apple's patent filing explains that "bending of the cable near the termination point may cause unwanted strain on the wire connections," indicating that it leads to fraying of the wire near end-points. The patent design is filed with the US Patent and Tra...
By the busload and planeload, National Guard troops were pouring into the nation's capital on Saturday, as governors answered the urgent pleas of U.S. defense officials for more troops to help safeguard Washington even as they keep anxious eyes on possibl...
Farah Khan shared an old photo of her sporting a retro hairstyle and Malaika Arora compared her to Chunky Panday.
The widespread fraud allegedly committed, in this case, was brought to the attention of the Transnational Elder Fraud Strike Force by Microsoft, which often is impersonated by those engaged in technical-support fraud schemes.
President Trump "presented the Legion of Merit to Indian Prime Minister Narendra Modi for his leadership in elevating the US-India strategic partnership," O'Brien said in a tweet.
An actor who worked for more than two decades in television, theater and films in Cuba was found dead along the shoreline of Miami Beach with no apparent signs of foul play, police said Thursday.
The Trump administration threw the presidential transition into tumult on Monday, Attorney General William Barr authorizing the Justice Department to probe allegations of voter fraud and President Donald Trump firing the Pentagon chief and blocking govern...
The visit of the influential Afghan leader comes in the midst of peace talks between the Afghan government and the Taliban in Doha.
The bench asked the authorities concerned to inform it within four weeks about the implementation of its order and also the number of sex workers who have benefited from its direction.
Minnesota has backed Democratic presidential candidates for nearly half a century and rarely receives much attention during the final stages of the race, when campaigns typically focus their resources on more traditional swing states like Florida or Penns...
With an early harvest already underway, a wildfire a few miles west of John Bucher's ranch added new urgency to getting his pinot noir grapes off the vine. If flames didn't do any damage to the delicate fruit, ash and smoke certainly could.
All appeals against the conviction of a 93yearold Nazi concentration camp guard have been dropped, a Hamburg court said Monday, making the decision legally binding and easing the way for possible future prosecutions.
Akhilesh Kumar's mortal remains were then taken by road to Mathura, Uttar Pradesh, where his family resides, another industry official said.
Mothers should breastfeed their babies even if they have contracted COVID19, the World Health Organization's head said on Monday, as the benefits outweigh the risks of infection.